0
Стоимость
0 грн.
Войти
Регистрация
:
46.50 грн.
Доллар:
43.60 грн.
Евро:
51.80 грн.
Вы не авторизованы!
Зарегистрируйтесь
и получите доступ к полному функционалу сайта.
Язык
сайта
Украинский
Русский
Валюта
сайта
UAH
EUR
USD
GBP
:
46.50 грн.
Доллар:
43.60 грн.
Евро:
51.80 грн.
0
Стоимость
0 грн.
Войти
Регистрация
:
46.50 грн.
Доллар:
43.60 грн.
Евро:
51.80 грн.
Модель
Выберите модель авто
Range Rover Classic (1986-1991)
Defender L 316 (1987-2006)
Defender L 316 (2007-2014)
Freelander I L314 (1996-2006)
Freelander II L359
Range Rover II P38 (1994-2001)
Range Rover Evoque L538 (2012-)
Discovery I L25 (1989-1998)
Discovery II L50 (1998-2004)
Discovery III L319 (2005-2009)
Discovery IV L319 (2010-2015)
Range Rover III L322 (2002-2009)
Range Rover IV L322 (2010-2012)
Range Rover Vogue L322 (2010-2012) NAS
Range Rover Vogue L405 с 2017-
Range Rover Vogue L405 (2013-2017)
Range Rover Sport L320 (2005-2009)
Range Rover Sport (L320) 2010-2013
Range Rover Sport L494 (2014-2017)
Range Rover Sport L494 с 2017-
Range Rover Velar L560 (2018-)
Discovery Sport L550
Discovery V L462 с 2017-
Главная
Каталог
Плановое ТО
Новости
О нас
Контакты
Полезные советы
Каталог
1998-2004 Discovery 2 (L50)
ЭЛЕКТРООБОРУДОВАННИЕ КУЗОВА
04 Электронные блоки управления
ECU-SUNROOF CONTROL UNIT
Каталог:
Наименование
Код
Цена
Количество
Купить
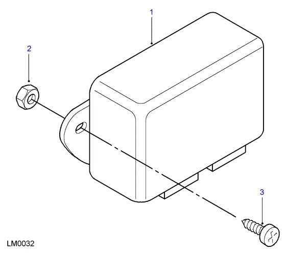
1
- [Более недоступно к заказу] Control unit sunroof; с электропр. сдвижного люка крыши
Детально
AMR2128
7 808.33 грн.
Доступное кол-во:
0 шт.
Заказать
2
- Гайка - spring-u type fixing control unit-sunroof
Гайка - spring-u type fixing control unit-sunroof
Детально
BTR475
51.28 грн.
Доступное кол-во:
0 шт.
Заказать
Наши контакты:
Контакты -
+38 (067) 310-51-00
+38 (044) 391-11-93
+38 (095) 914-81-41
Facebook:
Facebook -
www.facebook.com/Landstorecomua
Назва товару
×
Оберіть склад
Склад 1
Склад 2
Ціна:
2,200 грн.
Купити товар
×
Товар добавлен в корзину
В корзину
Продолжить покупки